The content is published under Creative Commons Attribution 4.0 International license (CC BY 4.0).
Reviewed Article:
Yeavering Reconsidered
It has been 30 years, but it is still relevant
In May 1987, the subcommittee on Archaeology of the European Science Foundation (ESF) organised a workshop on “the reconstruction of wooden buildings from the prehistoric and early historic period”. (...) The 1980s was the beginning of a boom in the construction of archaeologically inspired buildings inside and outside archaeological open-air centres. In their proposal to the ESF, they wrote of the problems of constructing at a 1:1 size. Some of the problems addressed are still valid today.
Brian Hope-Taylor’s report (1977) on his excavations at Yeavering was received with a unanimous fanfare of approval from reviewers. No general reassessment of the buildings appears to have been conducted subsequently to judge by the bibliography in a later study of the site (Frodsham and O'Brien 2005), although one or two have been tentatively reconstructed on paper and an abortive attempt was made to reconstruct the largest of them, A4, at the Bedesworld museum. Nevertheless a careful reading of the text reveals inadequacies of description and analysis of the buildings - a surprising number in the light of the reviews and to anyone accustomed to the interpretation of ground plans and structures, the report of an excavation justly famous for its brilliant technique leaves much to be desired. The purpose of this paper is to consider how plan and structure developed at Yeavering and to draw some tentative conclusions about their significance, setting aside the historical references and using only the evidence of the buildings. Excluded is the square shrine at the western ring-ditch cemetery in Phase I and the assembly structure in Phases II-IV, which do not require interpretation in the same way.
Even a superficial glance at the plans of the buildings shows that their most marked characteristic as a whole is the irregularity of the internal roof-supporting posts, which is accompanied in varying degrees by departure from a rectangular plan. Hope-Taylor's approach to these matters is expressed in a comment on building D1 which, "from the strange incompetence of its initial construction, might well have been a first, bungling essay in the large-scale use of an unfamiliar technique" (Hope-Taylor 1977, 95); an instance of what E.P. Thompson called "the enormous condescension of posterity'" (Thompson 2013, 12). Here, as in several other such instances, careful analysis of apparently irrational structures reveals an underlying logic developed by carpenters in response to the changing demands of patrons, whether individuals or groups.All such changes are prompted by three principal requirements: to accommodate an enlarging kin-group either in a greater number of buildings or larger ones; to provide in those buildings a setting appropriate to the status and structure of the occupying family or kin-group; and, as a power structure developed in the settlement as a whole, to provide for ceremonies expressive of authority. All these requirements modify the demand made of every building, that it provide shelter from wind and weather, something that of itself may drive improvement in prosperous times but is less important than social change and certainly has less dramatic architectural consequences. Yeavering illustrates these points.
In nearly all the buildings, wall and roof construction are inseparable, unlike the masonry buildings of the High Middle Ages in which a roof of one type could be replaced on the walls by another roof of quite different type without much change to wall structure. Although the long walls perform the obvious functions of supporting the weight and resisting the outward thrust of the roof, it is also possible to infer from them something about the kind of structure they were intended to support. It is important in assessing what kind of roof a house had (the most difficult part of any kind of reconstruction) to put aside modern assumptions about building construction. A wall-plate, for example, is not a concomitant of every kind of timber wall, nor can the apparently simple and obvious use of braces triangulating horizontal and vertical timbers together be assumed to be a natural development in carpentry, even though it was known in Roman times (Zippelius 1954, 46-47, citing Jacobi 1934). Little can be said about roof cladding from the exiguous excavation evidence; inference is inescapable.Each of the various kinds of wall construction found at Yeavering has implications about the kind of roof structure it could support. On general grounds it can be assumed that the roofs of all buildings throughout the history of the site are likely to belong to a single type with variations of detail unless the excavated evidence strongly suggests the contrary. Thus, for example, it would be unlikely for both single- and double-framed roofs to occur; and paired internal posts cannot be assigned automatically to a particular building tradition. To this can be added the need to avoid two kinds of irrationality: first, envisaging an upper structure more accurately assembled than the members that support it, because it is progressively more difficult to achieve precise carpentry the higher the work in question is above ground; and second, introducing anachronistically thecomplex jointed carpentry found in prefabricated buildings.
The beginnings
In the first post-Roman Phase I the two earliest buildings, A7 replaced by A6, had walls built of large imperfectly aligned posts which are described as "post & panel (wattle & daub)"(Hope-Taylor 1977, SC; 63). That is impossible; the posts only make sense if they supported a thick clay wall upon which the roof structure stood or, more likely, into which it was embedded. This is a long-lived technique observable in masonry buildings well into the eighteenth century. The first advance in building construction came when A6 was replaced by A5 in which posts were set at varying intervals in a thin wall-lineof wattle-and-daub(Hope-Taylor 1977, SC; 63). This created quite different problems of roof carpentry. Since the two buildings were of the same size the advantages sought from the change may have been economy of timber and the greater speed or durability of construction. Of the same type and little larger was D6: both it and A5 display a notable characteristic which was to persist at Yeavering in many buildings, the presence of two opposite pairs of doorways, two in the middle of the long walls and two in the end walls; a contrast with the wall construction, which found few successors.
Problems of building construction: interpreting irregularity
Phase II saw the introduction of larger buildings which had a different kind of wall construction using upright planks, often of quite large scantling, which may be called a palisade wall. The most conspicuous departure from this uniformity is observable in the much larger door-jambs; a less obvious one, one neither described nor discussed in the text, is the provision of larger corner-posts which show a curious variation of position, sometimes forming the corner, sometimes (in later periods), external and only touching the true corner. Accompanying this change was a new system of roof-support combining ridge-posts and paired freestanding internal posts and since the first three buildings in which this was applied were of hardly greater span than those of Phase I and used much more timber, some major structural advantage was foreseen.
The first of the three, D1(a), is dismissed as incompetently built because, "though clearly intended to be rectangular in plan, [it] was rhomboidal’' (Hope-Taylor 1977, 95-96)—a large assumption. Its long walls are very slightly bowed and the roof was supported by a quasi-aisled structure of paired posts carrying ridge-posts to provide longitudinal rigidity.The three pairs are set out with sufficient care to be more or less parallel with the gable-end walls and each was joined by a tie-beam upon which, it can be inferred, stood a king-post supporting the ridge-beam. Sufficient care was taken in setting out the posts so that the king-post, set in the middle of the tie-beam, could carry a perfectly straight ridge-piece—something rarer at Yeavering than might be expected. How the king-post was joined to the tie-beam is hard to guess—perhaps by a simple saddle-like joint, slotted over the beam, especially if a root stock were available. All the lateral support the king-post needed was provided by long rafters which reached from the apex and either rested on the tie-beam or were cut into the end of it; they terminated on the timber walls and were buttressed externally. It may be noted that the two rows of posts are not parallel, they are slightly wider apart at the north end where an approximately square space is free of posts. This is a feature of some other buildings but in this small one the unsupported length of the ridge beam is only 4m and presented no problem.Tofinish the roof support the rafters bore laths carrying the cladding. But what form did the cladding take? It is plausible to assume the cladding was heavier than that used in earlier buildings because the trenches dug for the long walls were deeper than those of Phase I, but were the more solid walls needed to resist outward thrust or do they merely represent improved durability and better living conditions? In the absence of direct evidence an answer can perhaps be extrapolated after looking at subsequent development.
D1(b) is generally similar. The well defined individual wall timbers, "merely packed together in palisade fashion"(Hope-Taylor 1977, 96), are not set out in straight lines and have, as the plan shows, small gaps between them which were presumably plugged with clay. Despite the claim that "the most obvious imperfections of its predecessor were rectified" (Hope-Taylor 1977, 96),the spacing of its post-pairs still appears erratic, presumably because it did not matter. They divide the length of the building into a very short south bay, a medium bay, a long bay and a medium bay, the last being a shortening compared with D1(a), produced by bringing the terminal ridge-post inside. Its new position suggests the possibility of a hipped roof.At the south end the closeness of the ridge-post to the wall may preclude a hipped gable unless it were steeper than anything in surviving buildings, but the alternatives are also problematic. A palisade wall could be carried up to meet the roofline but would demand prefabrication to ensure that succeeding planks were cut precisely enough to make the exercise worthwhile. A third possibility is that the gable end was of different construction from the wall, perhaps of clay on a wattle base rising to a pair of rafters above the wall, themselves stabilised by extended roofing laths. As for the paired posts, since they are not equidistant from the long walls it follows that they did not carry a specific proportion of the roof load, unlike those in Romano-British and medieval aisled buildings in which the precisely set-out internal structure supports half or somewhat more of the total; and the external posts (Hope-Taylor 1977, SC) do not relate closely to them. Continuing the assumption in D1(a) that the tie-beams carried king-posts at the logical point, in the middle, the ridge-beam cannot have been straight; a slight skewing appears at the north pair, perhaps to avoid putting the beam over the fire—and however odd this may look in orthodox structural terms this characteristic can be construed to occur in other buildings. The alternative, that some or all of the king-posts were placed away from the middle of the tie-beam, implies irrationality on the part of the carpenters. Lengthwise rigidity evidently required some improvement but, curiously,three buttress posts at the south end bear no relation to the roof timbers and were perhaps intended to check any southward leaning in the end wall.
D1(b) was innovative in three respects. Palisade walls with quite closely fitting timbers became the norm for a long time: so did the closeness of a post-pair, a ridge-post and an end wall, probably to avoid any longitudinal roof thrust on the end wall. The third, setting the ridge-posts off the long axis of the building, is an emphatic demonstration of the skewed ridge-piece observed in D1(a).
D2 must surely provide the only instance of a building whose second phase is alleged to encapsulate the still-standing first. D2(b) "was built as a massive shell around D2(a)" (Hope-Taylor 1977, 158); "there was striking evidence that it had been demolished after devastation by a fire...and the timbers of ...D2(a) were certainly removed at the same time as those of its 'successor' " (Hope-Taylor 1977, 97), yet "there was no evidence whatsoever to suggest that D2(a) had ever been damaged by fire"(ibid); in other words, D2(a) remained undamaged by a fire that devastated its shell. This contradiction will be set aside for the moment to consider how the stability of D2(a) could be maintained while digging trenches for D2(b) very close to its walls and then erecting new walls which necessitated removal of the existingbuttresses. Hope-Taylor's Plate 81, adduced as showing this process, suggests the contrary. Was the roof of D2(a) dismantled prior to their removal? It can hardly have remained because an enclosing structure would necessarily have been quite unusually tall, so were just the old walls leftstanding? Given that some at least of the post-pairs were replaced, the old roof must surely havebeen renewed completely—so what possible reason can there have been to leave just theold walls standing when they did not strengthen the new ones?The whole idea is absurd. Moreover, Hope-Taylor did not make clear which of the considerable number of posts belonged to which building; certainty was impossible but he was the best person to judge.
D2(a), which was "the exact counterpart of...D1(b) in size, form and orientation", (Hope-Taylor 1977, 97) had walls of heavy squared timbers and, "just inside the middle point of each end-wall"but not precisely indicated, was a ridge-post (loc cit); which post is meant at the north end is not obvious. Four post-pairs, two with spans of 8 ft (2.4 m; south) and two of 9 ft (2.7 m; north), and one or two ridge-posts do not differ significantly from those in D1(b). In D2(b) the post-pairs provide for a slightly skewed ridge-piece in the northern half of a roof that seems to have prompted concern for its lengthwise stability to the extent of needing four heavy inclined buttress posts at each end. It is not obvious why these and a 'regular series of smaller buttress-posts' lining the long walls should have been necessary unless they were required to resist the thrust of a much heavier roof cladding than was used hitherto.The number and position of the external posts can be judged fairly accurately, although if the post-pairs are correctly identified, corresponding buttress-posts or rafter ends are hard to find.Two groups each of four pairs spaced a little under 5ft apart flank the 10 ft space between the opposite doorways, one pair standing close to each gable end, the others corresponding fairly closely to the pairs of internal posts and all buttressing the walls at the points where the rafters rested, as in D1(b). The gable end buttresses, more pronounced at the north end, are not so carefully positioned and may have provided general support. But the most important difference between the alleged two buildings is that D1(a) has shallow wall trenches and D1(b) deep ones (Hope-Taylor 1977, SC).
For most of Yeavering’s history palisade walls were the dominant and almost exclusive technique, with one strikingly well-built exception. D3,approximately coeval with D2(a), is one of the best-preserved buildings and the only to have a sunken floor apart from the gruebenhaus (sunk-featured building)C1 (which offers no meaningful comparison) and it is unfortunate that the probable depth of the floor from the contemporary ground-level is nowhere stated; the long section (Hope-Taylor 1977, Fig. 56) suggests about 3ft. It was unique among the larger buildings in having heavy posts with panels probably of wattle-work(ibid, SC)andresembles D1 and D2 in its combination of paired posts, buttress-posts and ridge-posts, even to the spacing of the latter. It differs from them in the superior precision of its setting-out, so that the three bays formed by the paired posts are equal and the west wall has a regular rhythm from north to south. Because D3 has a quite wide middle span relative to the overall width (1:1.7) and external post-holes matching the well-aligned paired posts it can be inferred that this innovation was intended to relieve the walls of some of the roof weight. For the first time the post-pairs are so well aligned as to make the use of lengthwise plates conceivable, carried at the ends of the tie-beams, not on the posts; a structural procedure the more probable because the gable-end walls have suitably placed posts reinforced by buttresses on which the plates could terminate. Any skewing of the ridge-beam is hardly perceptible and a ridge-post close to each gable-end implies a king-post on each post-pair.
D3 raises the question of why two quite dissimilar building techniques should have been used at much the same time. Just as the use of posts and wattle-work panels in A5 and D6 can be seen as an improvement on earlier mass walls, using less timber and requiring less maintenance, so it may have been regarded as a potential improvement compared with the heavy use of timber in D1(b) and D2(a). Their palisade walls must have exhibited some flaw to cause the change from setting all the posts on the bed of the trench to the more complicated technique of setting only the alternate ones on it, as in D2(b); the first method may have allowed planks a short distance apart to lean slightly, domino fashion, the second, by giving alternate planks the support of a baulk of earth, even a small one, checked it. Whatever the truth of that, alternating depths persisted as long as palisade walls remained in use; and the conjecture may explain why D3 was sunk into the ground, to give support to the relatively light walls against any outward thrust of the roof and any lengthwise racking under wind pressure.
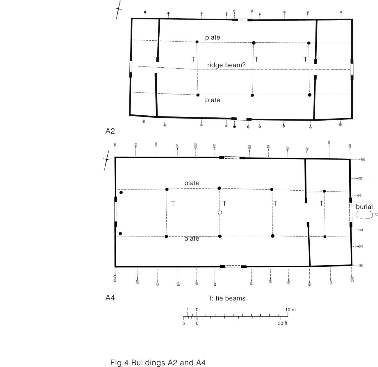
Problems of scale: A2 and A4
The two largest buildings on the site that give Yeavering the character of a palace have a deceptive simplicity of plan that belies the many structural problems left largely unmentioned; generally, confusion reigns. Given, too, the change of scale that the new situation demanded, the carpenters were forced to abandon at least one familiar structural element: ridge-posts would have been of impossible length and were ruled out. Given that paired internal posts carrying king-posts provided the only possibility of supporting a ridge-beam, the question arose of what span could be given to the posts without obstructing whatever ceremonial use the hall served; and this was limited by the decisive consideration that the tie-beams should be capable of resisting deflection under the roof load. The length decided upon, 18 ft (5.4 m), is about the maximum using freshly worked oak without any form of bracing; even so, the beam must have been of large scantling to carry the weight of a king-post and the cladding.
A2 was "of massive construction", exemplified principally by the long walls set in trenches "on average 3 feet deep" and the end-wall which were as much as 6 inches deeper (Hope-Taylor 1977, 51); evidently a great roof weight was expected to thrust both laterally and longitudinally. That condition governed the design of the great medieval barns too but, given the prefabrication of such structures by the twelfth century, it was possible to put half the roof weight on to the internal posts of the aisled structure. Without prefabrication and its complex joints the roof structure above the nave (Mittelschiff) could not be built separately and consequently that part of the roof weight had to be transmitted to the outer walls as well as the rest: the whole of what was clearly a great load rested on deeply founded walls. Even more resistance to thrust was provided by "external posts...at regular intervals" (Hope-Taylor 1977, 51) around the walls.
All the more surprising, then, that it was supported internally by only six posts apparently some 2ft in diameter (Hope-Taylor 1977, 58) and that the two middle bays are 19-20 ft (5.7-6 m) long—an impossible unsupported length for a plate or purlin under heavy loading even supposing it were of large scantling and playing-card section like the wall-plates at Maulbronn, Germany (Binding 1991, 31). Another unexpected feature is the lack of a post-pair near the west gable end. This is the more surprising as there are no buttress-posts at the end of a west bay no less than 23 ft (6.9 m) long. The initial solution to these problems seems to be that each post-pair carried a king-post and the ridge-beam, from which long rafters extended to the wall, ending, probably in a birds-mouth joint on the arris of a wall-post; some such joint was a more feasible way of preventing outward thrust than one involving attachment to the wall top. Setting aside for the moment the precise form of the quasi-aisled structure, a roof structure of uniform pitch capable of delivering the entire weight of the cladding to the walls has to be envisaged. Before going into detail on these points the limitations imposed by the handling of long, heavy timbers need to be assessed. Hope-Taylor does not discuss how, for example a tie-beam would have been placed on the tall posts of A4 (Hope-Taylor 1977, Fig. 59). It would seem to need some kind of crane and elsewhere the use of block-and-tackle is suggested for dealing with wall timbers (Hope-Taylor 1977, Fig.11 and 40), but bearing in mind the difficulty of putting in place whatever enormously heavy roof cladding A2 had, a reconstruction should envisage a roof of rather low pitch supported by posts far shorter than those conveniently shrouded in smoke in Hope-Taylor's drawing. But what kind of cladding was so weighty as to produce such a solution to the problem of thrust? Wooden shingles are heavy but demand a system of rafters supported mid-length by a purlin or plate and supporting the many cladding laths that are the accompaniment of the aisled construction already ruled out. An equally heavy roof might result from using bay-length boards, each of which, by abutting others end-to-end, would function as a purlin if secured to a rafter of flat plank-like section, thus achieving lengthwise stability. At the foot of the rafters the last board may have covered the wall top if that were thought necessary.
Not that this solution is without difficulties, primarily in relation to the roofing of the end bays. The west bay, 25 feet long from post-pair to gable end, must have afforded some support to the ridge-beam and the boarded cladding, presumably at the partition. Since the partition is unlikely to have risen much above man-height, a longer than usual king-post standing on the lintel over the doorway would support the ridge-beam and thus another pair of rafters. Incidentally, to speak of a pair of rafters does not imply that they were jointed together at the apex; something, again, demanding prefabrication. They were attached separately in some way, a form of roof known as Pfetten-Rofendach (Vollmer and Zimmermann, 2012, 262, 3.1.7), a German term for which no English equivalent exists. That leaves open the question already raised of how the gable end was finished above the palisaded end wall and the more difficult one of how the roof boards were secured upon the rafters.
A4 “was built with most remarkable precision” (Hope-Taylor 1977, 58) and “is remarkable for the very great emphasis placed on the external posts some of which appeared possibly to have been reinforced by a second post” (Hope-Taylor 1977, 60) and all of which are so shown on the plan (Hope-Taylor 1977, Fig. 61). Moreover, “The possibility that the side-aisles were separately roofed, so that the 'nave' rose above them and could be pierced in the fashion of a clerestorey, cannot be ruled out” (Hope-Taylor 1977, 140). The implication of all this is that A4 (and implicitly A2) were prefabricated (Hope-Taylor 1977, 137). Not a word is said about the startling implications for roof construction, of the walls and their buttresses, or of the one striking difference between A4 and A2—buildings of identical construction and (almost) size—that the walls of the first were set twice as deep as those of the second. It has to be assumed, therefore, that either structural defects developed in A2 (though none were recorded during its extremely detailed excavation) or that the weight of the roof cladding increased significantly. As for the notion of a clerestorey, which would have added considerable weight, the complexity of the carpentry involved is far beyond that deducible from the excavated evidence.
Improved solutions to some of the structural problems presented by A2 are found in the marginally wider A4. It is reasonable to infer that the span of the paired posts was reduced because of bending in the tie-beams; to remedy the same weakness arising lengthwise, an unequal bay system was replaced by four equal and shorter bays extending nearly the full length of the building; there was a reversion to the practice in D3 in placing one post-pair near the east wall. What was gained by this is not obvious; given the apparent wish to have a long impressive space, a short end bay coupled with the end buttresses may have compensated for stability lost by the absence of buttresses at the west end. The smaller axial post in the middle of the hall was not structural; its purpose is not considered (Hope-Taylor 1977, 62). This solution explains why the gable-end walls lack larger posts corresponding to the free-standing post-pairs—there was no plate to support and the lengthwise cladding boards were secured in some way to the wall-top. There remains the question of how watertight such a boarded roof might be. A tongue-and-groove joint is the obvious way of preventing water seepage but is doubtful in the absence of such jointing in the wall timbers; that leaves either some kind of seal where the boards abutted or an outer cladding—a living roof of sods of turf if the pitch were suitable—clearly weight was no object, or perhaps simply moss. But what was the pitch? Bearing in mind the difficulty of handling long heavy timbers, with or without the use of block-and-tackle, a relatively low pitch would seem desirable, and the weather-resistant properties of a boarded roof would make it possible.
The development process
The two large halls show advanced techniques related to those used earlier, techniques that must have been developed and tested in smaller buildings: which were they? D2(b) seems to be the first to have had deep wall trenches, “33 inches from the subsoil surface” (Hope-Taylor 1977, SC and 97), whereas D2(a), which is said to be its predecessor, had only shallow trenches for the “very heavy, squared, vertical timbers” (Hope-Taylor 1977, SC) forming its walls. In D2(b) the massive timber walls were set more deeply into the ground to provide walls capable of resisting the thrust of a much heavier roof cladding than was used in D2(a); a cladding that also gave lengthwise stability. This was one approach to the A2 and A4 kind of structure but not the only one; it may have been more or less contemporaneous with a quite different way of achieving the same ends.
D3 has never been fully explained, in particular why it has a quite deep sunken floor—a feature hard to parallel in any kind of building except the small sunk-featured house or Grubenhaus(Hope-Taylor 1977, 103). It is described as “a framed post-and-panel construction” and its wall foundation as “Slot bounding sunken floor” (Hope-Taylor 1977, 148 but in the text the 'slot' stood in a filled gully “about 12 inches wide throughout”). However the walls are reconstructed they were too slight to bear any significant weight. That leaves the post-pairs and the king-posts they carried as the sole internal supports; and on the assumption that a boarded roof cladding was intended, the long rafters envisaged in A4 were used at each post-pair but here embedded in the ground rather than terminating on a wall. Sinking the floor some three feet below ground level was a more economical system, reducing the need for very long rafters and eliminating the large amount of timber and labour required by palisade walls. But it was not a procedure suitable for a much bigger hall that was necessarily floored at ground level, because end doors, evidently for some ceremonial or representational purpose, had become necessary. A point not mentioned in text or plan (Hope-Taylor 1977, Fig. 48) is access: apparently no trace was found of an external or internal stair.
It looks as though a new kind of heavy roof cladding was coming into use, replacing what must have been a relatively light cladding used in A5 and D6 to cover a 20 ft (6 m) span without any internal posts and probably without tie-beams, for which the span is too great. The only possible pointer to the roof structure comes from the east and west doorways, staggered and each with one jamb on or near the long axis. The jambs are bigger than the wall-posts and those two could have been longer to form the ridge-posts that are a basic element of roof construction at Yeavering. Rafters from the ridge-beam to the wall-posts and door-jambs would give an adequate framework for a cladding of wattle panels or for laths bearing a cladding of thatch. D2(a) was the first to have palisade walls, which thereafter became general; D2(b) was the first to have buttressed end walls; D3 was an experiment to dispense with palisaded walls; and when, at that point, social considerations required a much larger building, the skill had been developed to build A2. This sequence suggests that wooden roof coverings may have been tried first with D2(a), where boards from ridge-beam to wall-top are the likely form. Boards so placed, side to side without any fastening to a purlin, would have a tendency to rack towards on end or the other, as is observable in some medieval roofs, and, as suggested above, it may have manifested itself in the long walls of D2(a). Remedy for the latter was sought in D2(b) by the addition of buttresses which can be envisaged as rising to near the wall top; remedy for, or perhaps simply fear of the former had to wait until A2. Turning the cladding boards lengthwise seems to have been the principal way of achieving lengthwise stability, assisted by a shorter east bay which is otherwise hard to account for. That improved stability was indeed that bay's purpose is confirmed by the slightly shorter east bay of A4, a small change accompanying the introduction of a regular system of somewhat shorter bays than those of A2; a way of reducing any tendency in the boards to sag. At the same time more lateral buttress posts were introduced, spaced more regularly than before.
After A4
A4 was the apogee of building construction at Yeavering; only one other building, C3, was governed in its design by the aim of transmitting the roof load to the long walls or outside, and it must be admitted at the outset that no really satisfactory reconstruction can be devised. The essential facts are that it has no internal posts; the wall timbers were about 11 inches wide and 4 inches thick, set in trenches at most 5ft deep (Hope-Taylor 1977, Fig. 40, 6,7); and two rows of close-spaced external posts were, strangely, uniformly vertical (Hope-Taylor 1977, 91). Only near the partition do bigger posts that might support a roof frame interrupt the long walls; they are not aligned with any external posts. Yet more posts, 'traces of later repairs...had been inserted alternately against the inner and outer face of the walls' (Hope-Taylor 1977, 92). All very confusing, yet the inescapable conclusion is that this was a monospan building entirely dependent for its roof stability—and in this it follows A4—on its walls and external posts. That leaves the purpose of the inserted posts—whether sloping or vertical is not stated—uncertain, but their spacing is interesting. In the west half of the building two posts are clear by the north wall and one is uncertainly shown by the south; in the east half, one uncertainly by the north, one clearly by the south wall. All appear to be at a regular distance from the wall. Assuming a roof-frame for each pair of posts, their spacing within the hall bears a marked resemblance to that of A4, with another frame at the partition instead of an extra freestanding frame. That still leaves the external posts, not one of which is aligned with a roof frame, to be explained. If the general similarity between C3 and A4 is well founded it is likely that the roof will have been of quite low pitch and the walls of—no great height—would need buttressing at or near the top, hence a short outer post and an inner one of intermediate height provided notched housings in a beam notched to fit the housings and rising to the wall top. Such supports would not require prefabrication; each was cut on the spot as construction progressed and regular spacing from the wall did not matter provided the buttresses functioned as intended.
C3is the exception to the rule. Generally speaking, contemporaneous and later buildings show little influence of high-level practice in conjunction with earlier practices—a thought-provoking combination. Coeval with A4 is A1(a) which has heavy palisade walls and large external posts (Hope-Taylor 1977, SC) in common with recent Yeavering buildings, yet the trapezoidal setting-out of the four internal posts, so different from the precision which began with the comparably sized D3, implies a reversion to the skewed ridge-beam and end-bay lengths comparable to those of D2(a). It was apparently an undivided hall with end doorways.
D4(a), which "was in nearly all respects similar to…A1(a)" (Hope-Taylor 1977, 117), has something in common with it if indeed it did have paired roof posts (Hope-Taylor 1977, SC), although there is no sign of them on the plan, and since its successor D4(b) is not said to have had them, both are more likely to represent a reversion to monospan construction not seen since Phase I. D4(a), also with palisaded walls in deep trenches, was apparently an undivided open hall with doorways in the middle of the end walls.
D4(b), of the same size as its predecessor, displays interesting innovations in both plan and construction. About one third of the hall is partitioned off at the west end; at the end opposite doorways are moved off the long axis and the partition doorway is staggered. Hope-Taylor pointed out that the asymmetrical position of the west doorway accords well with the site of the hearth; presumably the east doorway was moved similarly to avoid alignment with that in the partition. The walls are of medium, plank-like timbers in "deep trenches" (Hope-Taylor 1977, SC) of unstated depth, and the roof construction, about which nothing is said, is problematic: its principal traces are three clear post settings, two at the west end, one at the east, and each of three posts - one somewhat larger than its fellows in the deep wall trench, one inside and one outside of it. Adding to them three virtually certain intermediate settings that lack signs of a south inside post and another one at the partition, together they provide for six close-spaced roof frames in a roof of seven bays; a clear solution but for the unsettling presence of one major post-hole towards the north side of the hall. It looks like a ridge-post so placed to carry the ridge-piece away from the hearth - just what was achieved in D2(a) by different means, but hard to incorporate in a succession of roof frames.
Not all buildings of this phase were monospan. D5 presents a contrast in having a pair of posts west of the middle doorways and one post east of them to hint at another pair, forming a bay about 10 ft (3 m) long and a somewhat longer one (14 ft; 4.2 m) at the east end. Some kind of support must have been required in the remaining length of the building, where ploughing had destroyed the evidence. What remains points to a king-post and ridge-beam roof.
Phases IV and V; the Great House
In the two latest phases when the administrative function of Yeavering was diminished a great hall was replaced by what is misleadingly called that but is really the Great House, A3(a) ((Hope-Taylor 1977, 57). The actual hall of A4 is more than four and a half times larger (3149 sq. ft; 293 sq. m), and that of A2 (2622 sq. ft; 260 sq. m) four times larger than the actual hall, the middle compartment, of A3(a) (672 sq. ft; 62.4 sq. m); and the division of the rest into two equal-sized rooms and a shorter east room confirm its quite different function. The principal structural problem was, as always, how to support the roof, which is likely to have been an improved form of that used in the two preceding large buildings. It still required a 'deep wall trench' nearly 5 feet deep (Hope-Taylor 1977, Fig.19). - As Hope-Taylor points out, there is an emphasis on the centre-line (Hope-Taylor 1977, p 55). These are both elements that occur in earlier buildings. But however important their depth was, the walls were innovative. No longer of palisade construction with alternate posts of different depth (Hope-Taylor 1977, SC), they incorporate large square posts at each corner and also at the ends of the partitions; and the long walls are interrupted by smaller posts. The larger posts obviously provided a firm base for long rafters as used in A4; the intention underlying the smaller posts, which stand midway along the walls of the two end bays, is not clear. Without some intermediate support they cannot have held rafters; possibly they were intended to give lengthwise strength to the palisade walls beyond what came from posts at alternate depth. The same intention may account for the slight bowing of the long walls, as perhaps it did for the lack of alignment in the partition walls of A2 and A4—a desire to reduce the effect of any racking from one end to the other.
Annexes are the most striking new departure in A3(a) but they are important as a social phenomenon rather than structurally. Straight walls were acceptable, acting as buttresses to the main block to which, as the posts at the points of junction suggest, they may have been linked by a timber jointed to them in some rudimentary form. The larger annexe to the west, some 20 ft (6 m) wide, is at or close to the maximum possible span without internal posts.
A3(a) was succeeded in Phase V by A3(b) which differed only in detail though it was dismissed in slighting terms: "Viewed as a simple plank construction, A3(b) appears to have been remarkably flimsy…a half-hearted expedient: a wooden shell actually and visibly solidified by a plastering of daub…"(Hope-Taylor 1977, p 55 ). That is to judge the building by its least important element; structurally, it was probably as sound as A4. The walls were of medium-sized upright planks at intervals showing signs of the “addition or partial substitution”of horizontal clinch-built planks (Hope-Taylor 1977, 149); a row of three door-jambs are aligned on the long axis as if extended upwards to act as ridge-posts; improbable though the required length of timber may be, it is hard to see any other purpose in their siting.
Whatever form roof support may have taken in those three doorways may have been recognized to have potential defects for otherwise it is hard to account for the fourth doorway at the west end, where what looks very much like a ridge-post—a timber as big as the south jamb and abutting it—was reintroduced. It is the first and only use in so large a building although it appears at the east end of C4(a). So what possible weakness was such a ridge-post intended to remedy? If the conjecture of an extended jamb is correct the carpenters may have feared its considerable length in a large building might cause it to move longitudinally under wind pressure and thus distort the door frame; either that or they thought of it as a corrective to racking throughout the building. How effectively an independent ridge-post met the perceived problem cannot be known because the settlement at Yeavering ceased to require buildings of anything like the size of A3; and it was abandoned even in C4(a)’s successor of the same size, C4(b.
Phases IV, V; lesser buildings
In these phases the evidence of building construction is unclear: "…there is suspicion that enough of C4(a)’s eastern half remained standing, after the fire, to allow of piecemeal demolition and reconstruction…”(Hope-Taylor 1977, 94). But the walls of C4(a) and (b) do not correspond except in the annexe and adjoining west wall and to make matters worse no serious attempt is made to assign post-holes to one phase or the other (Hope-Taylor 1977, pp.93-95). The putative ridge-posts of C4(a) abutting the jambs of the end doorways (A, K, Figure 00) imply a slightly oblique ridge-beam with one post-pair (F,G) carrying a king-post as its only other support, which is impossible. A little to the west of the lateral doorways is what might be an axial ridge-post matching two buttress-posts, which would reduce the unsupported length of the ridge-beam to a credible 18 ft (5.4 m), comparable with the 20 ft (6 m) from the east wall to the paired posts. So far, just feasible, but what is said about the roof of C4(b) confuses the issue further: there was “a row of deeply founded ridge-posts along the long axis” (Hope-Taylor 1977, 94, SC), four in all, giving a doubly skewed ridge-beam. It may be that piecemeal reconstruction applies to the walls and not the ground-based roof structure, which was rebuilt bowed, presumably to resist racking.
The C4 annexes, which are all but identical except for an extra pair of wall-posts in (b), are remarkable for the two unique freestanding off-axis posts aligned at both ends with wall-posts and rather too big for a partition. The only other obvious purpose for internal posts is to support the roof - here, the ridge-beam, and no external posts were needed in C4(a) at least. Bizarrethough the idea of a roof with a steep pitch to north and a gentler one to south unquestionably is, it is advanced here for want of anything better. Other internal posts recurring in odd positions may be noticed in the hope that others will find explanations for them: thus D2(b) has a large square post just inside the east doorway, rather like one close to the north doorway of C4(a), and D4(b) has a freestanding post north of the hearth in a comparable position to one in C2.
Social implications of the houses
House plans reflect accurately the social structure of a community and the changes it undergoes.
Although analysis of the Yeavering plans is made difficult through the general disappearance of floor levels and associated finds the rooms themselves, their proportions and relation to one another reveal much about how social relations changed over time. A useful starting-point is the observation that the living space required for a nuclear family or other basic social unit is commonly square or nearly so, irrespective of whether heating is provided by an open hearth or a lateral fireplace; oblong rooms call for explanation. This, of course, excludes the large halls expressive of power and its accompanying ceremonial that were needed by aristocrats or chieftains, though even in them evidence can sometimes be found of informal division into two parts. Another informative indicator of social usage are the doorways, whose number, width and siting offer scope for conjecture.
About the two buildings of the earliest post-Roman Phase I, the eastern settlement near the Great Enclosure, little can be said, A7 being too fragmentary and of A6 it is evident only that it did not have doorways in the middle of the long walls, unlike nearly every other later building. A5, small though it is, certainly had three and perhaps four doorways as, probably, did the contemporaneous D6. A hall open from end to end with doors midway on both sides is automatically divided into two parts which, if they are not differentiated by finds or floor treatment, must be assumed to be used in the same way; service quarters never needed to be as large as the living space. Consequently, since there is no reason not to consider A5 and D6 as houses, they were each occupied by two more or less distinct groups, two branches of a family, probably. The presence, in each part of such small buildings, of gable end doorways implies some particular function contrasting with the everyday use of the principal doorway, for the one in the long side, wherever placed, provides the normal point of entrance in houses of any date throughout western Europe: thus it is possible to envisage both the south door, signified by its greater width as the customary entrance, and its slightly narrower north counterpart opening on to a yard, as serving everyday purposes and leaving the end doors for special comings and goings of the two households.
In Phase II a change in location of the settlement to the Western Ring-Ditch was accompanied by a social change apparent in a new kind of house-plan having doorways only in the middle of the long sides. These houses are also slightly longer than their predecessors and of different proportions, approximately 2:1 instead of 1.5:1. D1(a) contains no hint of internal division beyond what is implied by the different spacing of the post-pairs; the north half is less cluttered than the south. D1(b) is similar save for the different positioning of the south post-pair which creates a second living-space and the absence of any deviation in the ridge-beam like that in the north part which connotes a hearth. Furthermore, in both (a) and (b) the south space is demarcated by a post-pair close to the doorways as if to symbolise some degree of separation. A second house, D2(a), lay to south of and was aligned with, D1(b), an alignment so exact that it probably expresses the social relation of the two; equality of status, perhaps, neither overlooking the other or being approached past the other. D2(a), the larger, provides two nearly square living-spaces, both with a post-pair symbolising the limit of a household's private space and leaving a fairly wide space between the doorways as a common entrance hall. A curious feature of D2(a)/(b) is the square-section post just inside the east doorway in an apparently inconvenient position that suggests it had some important function, perhaps indicating to incomers a social division that had to be observed. In each of the two living-spaces the ridge-piece is skewed for a hearth. It is interesting that this aligned pair of buildings abut the Western Ring-Ditch Cemetery much as A2 and A4, which certainly co-existed for a while (Hope-Taylor 1977, Fig.61 and 161), related to the Eastern Ring-Ditch Cemetery. To them was added D3, impinging on the WRDC in a rather similar way to how the alleged church B(a) relates to the ERDC; but by then the closeness of A4 to the latter had been lost with the construction of A3. D3 was interpreted as 'a kitchen, with an attached buttery' and, even more extraordinary, it 'might well have been the original servants' hall of Yeavering' (Hope-Taylor 1977, 168): a kitchen initially serving two houses occupied by (at most) four households and accommodating their servants (how many?), but if D2 was, as claimed, “a focus both for burial and for seasonal festivals” (Hope-Taylor 1977 158), that removes from D3 responsibility for two households and much of its cooking function. It is not uncommon to find early-medieval buildings with two hearths that are properly interpreted as serving two households (Steuer 1982, 110 and Abb.20). Two confused interpretations are here rejected in favour of the two buildings being simply houses. In fact, the really interesting question is why the end doorways that existed in the previous phase (A5) and became common subsequently are absent here; and the answer seems to be that such buildings were socially inferior to those in which end doorways were symbolic of power.
The Great Halls
A dramatic change took place in Phase III with the construction of an assembly structure or 'theatre' (n. This structure was "certainly in existence" by IIIAB, caption, Fig.76) and buildings for the use of a higher social stratum than had been present at Yeavering hitherto. The first is the hall A2, much larger than any of its predecessors. Its size notwithstanding, this imposing building has some resemblance to its predecessors in the form of its plan. The central hall itself is divided into two unequal parts, each with an antechamber (a new feature) entered by a gable-end doorway, and it is interesting that the smaller east part of the hall has the larger antechamber, hence the opposite main entrances divide the building into two parts equal in size but not quite the same in function and (by inference) not equal in status. Differences between the doorways demand interpretation: the four into the antechambers are perfectly aligned, of exactly the same width and, remarkably, are slightly wider than the two (also of equal width) that would normally be considered the main entrances. This enfilade of doorways seems designed for more than the convenience of entering the building from opposite directions, but the alternative, that it served a ceremonial purpose, does not account for doors at both ends, as if a procession were passing through on its way to somewhere more important. Hope-Taylor's vision of A2, derived, it seems, from the 'metrological response' of many post-holes (Hope-Taylor 1977, Fig. 60); no details given of the post-holes) cuts across both suggestions in blocking the enfilade with a 'high seat' (throne) on a dais and facing a lengthwise passage flanked by raised timber floors; thereby the building is unified. Nevertheless a post-pair stands smaller part with a larger anteroom and a bigger part including the entrance space and a narrow anteroom, thus having some resemblance to the dispositions of earlier, smaller halls. This confirms the observation that A2 “is shown to have been in some sense a dwelling, by its general arrangements and by the presence of minute fragments of pottery and an assortment of animal bones” (Hope-Taylor 1977, 161) - but it can hardly have served as a dwelling if it really had a high seat or throne and raised floors, all designed for a ceremonial purpose.
In this respect comparison with A2’s successor, the slightly longer and wider A4, is instructive, for there, too, the axial doorways are wider than those in the long walls although, when the building was first laid out and construction had proceeded as far erecting the west doorway, they were of the same width (Hope-Taylor 1977, 129-39). Whatever consideration of status or ceremony underlay the decision to change was sufficiently compelling to require dismantling part of what had already been built in order to widen slightly a building intended at the outset to be a virtual replica of A2. It was perhaps a wish to enhance the ceremonial function that caused the two antechambers of A2 to be reduced to one, leaving nearly all the building as a large representational hall open to the roof with a minimal clutter of posts. It may be that the comparatively small post driven into its middle symbolised a division of the hall without detracting from the spacious internal effect. An interesting feature is the pair of posts about two feet inside the west door—very apparent in the primary horizontal section (Hope-Taylor 1977, Fig 17) but, curiously, not shown in the analytical plan (ibid, Fig, 61); it looks like a internal porch or lobby. That said, A4 had, at the peak of Yeavering's development, two fundamental elements of plan that had appeared soon after the foundation of the settlement in A5: the division by middle doorways into two parts and the two end doorways. End doorways are uncommon except as the cattle entrance in the big German and Dutch longhouses (Hope-Taylor 1977, 217-27) and they are found at both ends of many of the houses or barracks in the Viking fortification at Fyrkat (Olsen and Schmidt, 1977), but even one is virtually unknown in purely domestic buildings, let alone two. In A2 and A4 they seem by their width to serve a ceremonial purpose, but in A5? Yet the conjunction of end doors in all three cases with the transverse division by opposite doorways—the latter found in most houses at Yeavering—suggests that A2 and A4 cannot have been built purely as palace halls. More likely the needs of peripatetic kings were met in something like the way Elizabeth I was accommodated during progresses around her realm in the late sixteenth century, when the courtier favoured with the royal presence would vacate the whole or part of his house for a few days in the hope and expectation of later favours. The tenant of a royal vill would be expected to build suitable accommodation for reception of the king and the fairly small number of his entourage but would use it himself at other times. If this is correct, it raises the status of A5 to the residence of some locally powerful person who chose to settle at Yeavering before the establishment of kingly power in Northumbria. Subsequent houses in the western settlement did not need end doors. And before leaving A4 it is observable that its east-west orientation is copied in the three lesser buildings of the same phase IIIC, even the two added to the otherwise north-south orientation of the western group—a mark of the new concentration of power.
From great hall to great house
A3(a) marks a change in the social organisation of Yeavering following the destruction by fire of all the buildings of phase IIIC: "The old township has been burned to the ground, deliberately" (Hope-Taylor 1977, caption, Fig.78). Whatever the relationship had been between the head of the kin-group, who was also the tenant of the vill and the king to whom he owed obedience, he no longer expected to entertain the king and his court. Henceforth a great hall was unnecessary; what he needed as the current representative of the community was a building big enough to accommodate two branches of the kin-group forming Yeavering's population, one expressing on a larger scale the kind of duality found in nearly all other houses. The fact that the resulting building was almost as big as A4 is indicative of a houseful comprising two sizeable households, one markedly bigger and more important than the other and both sharing the point of entrance and focus of shared activities, the common hall. To refine the significance of this duality and make its exact meaning clear to all who approached the great house the division into two parts is denoted by a change in the position of the entrances. A3 is the first building at Yeavering in which they are set well away from the middle of the long walls, a change ensuring that the hall, though structurally undivided, was a reminder to all who entered of the relative status of the two households. As for the internal doorways, it is an extraordinary coincidence (not mentioned in the text) that three of the four internal doorways of A3(a) should have been widened from their original 3 ft6ins to 5 ft(1.05-1.5 m)(plan, Hope-Taylor 1977, Fig.68), in exactly the same way as the axial doorways of A4. Little can be deduced about the organisation of the households each of which must have comprised a considerable number of people; an extended family, perhaps, that might incorporate several nuclear families and three generations. The main room and its annex would easily accommodate twenty to thirty people, the kind of numbers envisaged as living in large north German longhouses (Steuer 1982, 110-11, 285). As in those houses, A3(a) is likely to have needed more than a hearth in the larger room, and because the whole house was open to the roof a hearth could be set up anywhere; one in the hall and one for each household at least.
The change denoted by A3 was reflected throughout the settlement. Buildings reveal a drastic transformation in phase IV under the aegis, presumably, of the head of the leading household within the kin-group, which included the virtual abandonment of the western block of houses and a complete reorientation of those in the eastern block upon A3. This was an expression of consolidated control beyond anything in the glory days of the Great Halls, one matched in the changed house plans and the relations between buildings. It is a modest counterpart of the changing orientation of houses in the big north German settlement of Feddersen Wierde (Steuer 1982, 275, citing Haarnagel 1977). A2 and A4 coexisted, at least briefly, in phase IIIAB, the former being replaced in IIIC by A1(a), which would not have looked out of place years earlier. When A3 replaced A4 a smaller version of it, A1(b), replaced A1(a): two Great Halls superseded by two great houses standing in a similar but more distant relation to each other than that of their predecessors. It suggests that the reason why A4 was widened in the course of construction is that the two housefuls comprising the principal part of the kin-group were of nearly equal, not equal status, a distinction that had to be scrupulously observed and made observable to everyone. Differentiation did not apply to every context, the siting of doorways for example: those from hall to annexe are opposite, those into the annexes each staggered in the same relation to the hall doorway to avoid any view from the hall.
North of A3(a) and in echelon to it stood a row of buildings, the nearest of which and the largest, C4(a), was at a respectful distance from it, much farther away than A1(b). Its impressive undivided hall, about 50 ft (15 m) long, bears comparison with the 57ft (17.1 m) length of the hall of A2. At the west end, near the corner of the hall, is the one annex, entered by a doorway placed at the farthest point from the south—presumably the main—entrance. The annex takes up from A4 the massive jambs of a doorway-like frame (not mentioned in the text) that proclaimed the exclusiveness of the inner sanctum or were the corner posts of a shallow and less emphatic lobby; they appear to be matched at the opposite end by two timbers (also not mentioned) that adjoin the doorway and might have supported a seat or low screens flanking one. These two features may represent two households differing far more in their respective status within the houseful than those of A3(a). It is significant that the end doorway is narrow compared with the lateral ones, quite the opposite of A2 and A4. C3, next in line, is smaller but similar in having wide doors into the hall, narrow doors at the gable-end walls; similar too, perhaps, insofar as the two axial doorways into the anteroom appear to have flanking posts forming the jambs of some dignified rather than utilitarian feature. The lateral doorways have nothing like them and the west doorway is staggered, possibly as the mark of inferior status, although beside it are traces of two posts that might have been comparable to those at the east end of C4(a). In plan C3 shows a reversion to the kind of anteroom introduced in A2, one that here, if its doorways are correctly reconstructed, lies within the upper or superior part of the hall. Next again and smaller still is C2, alleged to be "sufficiently displayed by the diagrammatic plan (Figure 38)" (Hope-Taylor 1977, 91). Not so. It has four external doorways; the end ones are staggered and another one into the narrow anteroom that has massive jambs abutted by equally massive posts, which emphasise importance like the separate constructions in C3. Last in line was C1, the humblest and, excluding ephemeral structures, the only purely utilitarian building in the history of Yeavering, a sunk-featured building where weaving was carried on. As in all medieval buildings used for craft or agrarian purposes the craftsman and family lived where they worked (Price 1982) and it is surprising that no other trace of such activity was found at Yeavering except in the five successive 'huts' beside D2.
Accompanying this reorganisation is the apparently deliberate destruction of the western group of houses and their replacement, in what looks like another assertion of authority, by a single house orientated east-west. D4(b) is very similar to C2; its interest lies in its facing east, a direction from which it will only have been entered on special occasions, that is to say, other than the performance of everyday tasks for which the opposite doors in the hall were used. This is the first clear indication that such an end compartment did indeed sometimes function as an antechamber, although its size, and still more that of the corresponding rooms in A2, suggests end rooms were more than that (Hope-Taylor 1977, 103); the suggestion of a box-bed is fanciful).It may be, too, that the division into two parts was less inconvenient than appears, for if the outer doors were opened only on ceremonial occasions they could have been inner, more private rooms in everyday use. A minor point about D4(b) is that the staggering of the west doorway may have made it easier to skirt round the hearth inferred from the skewed ridge-beam.
An anomalous element in the new order is the alleged Christian church, B, which, like the earlier temple, bears a remarkable likeness to coeval secular buildings. “Certainly a church,”, it is claimed (Hope-Taylor 1977, 58), but also “a hall-like building” that in plan is indistinguishable from a hall entered at the east end, to which an annex was added, even to having staggered doorways. No church remotely like B can be found in the catalogue of 1700 wooden churches in Europe (Ahrens 2001), the large collection of pre-Romanesque church plans in continental Europe (Oswald, Schaefer, Stennhauser 1966),and the comprehensive work on early-medieval monastic churches in Spain (Moreno Martin 2011). However many burials there are in and around B, they do not make it a church. Indeed, the number of burials within the building is proof to the contrary (n. LMA s.v. Begraebnis...). B4(a) stands in similar relation to the Eastern Ring-Ditch as D4(b) does to the Western; both houses are inferior to those in the C file and represent the lowest stratum of permanent occupation at Yeavering, that is to say, excluding huts.
The final phase
In its last years the social composition of Yeavering underwent yet another great change following a second fire that, like the first, destroyed every building. It is certainly no mere coincidence that the one event followed the other; both were equally deliberate. Social change was the cause, not the effect, and to express it a new set of buildings was required. Since at Yeavering buildings were commonly erected on the site of a predecessor one wonders where the inhabitants lived after the old houses had been reduced to ashes. Rather, the uncertainty that is several times stated or can be inferred as to how much of a building survived burning may indicate a piecemeal process of destruction and reconstruction. A remarkable aspect of it is that A3(b), replacing A3(a) after it "had been severely damaged by fire" (Hope-Taylor 1977, 58), was rebuilt to exactly the same size and shape as its predecessor except for a shortening of the west annex - something that may have arisen because its S.W. corner and that of the main body of the building had been particularly badly burnt. Removal of wall-posts was observed 'in one small area' (loc cit); one wonders whether much of the damaged building was incorporated into the new one or, perhaps, the latter was actually a rebuilding as parts of previous one was demolished. The result was a new building serving essentially the same houseful as before save for some interesting though structurally minor modifications. Most importantly, the superiority of the west household was diminished by reducing the size of the annex and relocating the hall entrances to link the greater part of it to the east household. Together these amount to a redistribution of authority within the houseful. The move towards greater equality finds expression at the two principal doorways, where flanking posts are introduced that do not appear to have a structural purpose; they were an embellishment conveying the status of the occupiers, and if that inference is correct, one wonders whether members of the two groups entered on different sides. Considerations of status may account for the differential doorway arrangement; those in the west part staggered as before, those in the east part replaced by aligned doorways contrary to the general direction of change in such matters. A curious detail is that in A3(a) holes on the hall side of the entrance of the entrance to the west part would be intelligible for similar posts but would appear misplaced on the east side of the corresponding east doorway.
In A3(b) no diminution of authority over the remaining buildings of the now shrunken settlement can be detected—the opposite if anything. A1(c) and B(b) were built with the respective annexes facing A3(b) so that in their daily comings and goings nobody either saw or was seen by the elite. C4(b) in its relation to C4(a) presents the same structural problem as A3(a) and (b), one not argued here because a definite conclusion is unreachable. With a hint of duality and status in its plan, C4(b) can be presumed superior to either, as its position relative to A3(b) makes clear. Yeavering in this phase has ceased to be a community comprising several finely graded levels of status and become, apparently, a tightly knit kin-group whose members were closely related and represented only the upper levels of society.
The reasoning underlying the reconstructions
by Allan T. Adams and J.T. Smith
The following conclusions were reached after much discussion and may differ at some points from possibilities raised above. Since on a number of points no decisive evidence was found to prefer one solution to another, alternative solutions are presented graphically to provoke discussion in the light of other sites. Rather than present our conclusions chronologically we begin with the building that preserves the best evidence and extrapolate to its predecessors.
The structures that can be inferred from the archaeological evidence began with A4, where the builders' design brief and their primary assessment of the problems are clear. A large hall was required and it had to have as wide a span as possible—width was an expression of status throughout the middle ages—and that condition exacerbated the problems familiar to carpenters of achieving lengthwise and lateral stability. Height can reasonably be assumed to have been desired by the patron but the means of achieving it were limited by the difficulty of working much above man height with long or heavy timbers which, not having been prefabricated, required fitting together as easily as possible.
The reasons for assuming a roof of lengthwise boards serving as both structure and cladding have been set out above, and without the use of some lifting device the size and weight of bay-length boards would make them difficult (but not impossible) to raise to wall-top height. Shear-legs and block-and-tackle might, as Hope-Taylor assumed, have been used at Yeavering but do not help much in raising a high, steep-pitched roof, hence the choice of a low pitch which, with low walls, would make the building process relatively easy. The form of structure must have been decided at the outset, so too the plan, but at a certain stage in construction it was realised that some consideration important enough to require changing the already partly built hall had been overlooked. Apparently it was essential in a linked pair of major buildings for one to be larger than the other: A4 than A2, later A4 than A1(a); A3(a) than A1(b); and A3(b) than A1(c). A slightly greater increase in width and in the height of the roof apex would make clear the superiority of A4 and the requisite change was made before the north wall was begun (n. Hope-Taylor 1977, Fig. 65) but after the post-pairs and end door-jambs were in place.
How were the post-pairs constructed? Earthfast construction must have presented some difficulties in ensuring that the bottom of each post-hole was nearly enough at the same level to keep the tie-beams horizontal and at the same height; the accuracy of prefabricated construction on sill-beams was unachievable and some fairly slight irregularities must have been inevitable. Nevertheless, the long continuance of earthfast construction into the early modern period, as has been established recently in England, shows that problems of this kind could be overcome. How the post-pairs were erected is debatable; assembly on the ground and rearing the completed pair seems more likely than embedding the posts and raising the tie-beam into place. In either case the form of joint is crucial, perhaps a very simple form of mortise-and-tenon. Once the pair was upright and propped and the post-hole packed, the long flat-section rafters could be added, using scaffolding at the walls and posts to allow manoeuvering of the heavy timbers into place and using ladders to enable men standing on the tie-beam to secure the apex. A low pitch would make this possible; then, with four post-pairs propped and rafters, birds-mouth jointed to wall timbers, in place, long boards could be set on the rafters from foot to apex. Some finishing cover was probably necessary, perhaps a ridge pole with a wide V-shaped cut to fit the apex.
The boards must have been fixed to the rafters by nails, presumably, although no trace of them was found; or wooden pegs might have been employed if augers - first mentioned in English c.700 (OED; Innocent 1917), 99) - were in use then - and since rafters were not used for support at the gable ends that leaves the boards terminating on top of the wall timbers. It follows that the timbers aligned with the post-pairs were of the same height and those adjoining the door lintels somewhat higher, but whatever the difficulties of handling, the depth to which they were buried- rather more than the long walls- shows they were intended to resist any lengthwise movement. The possibility of a hipped roof was considered, particularly at the east end, but the lack of any reinforcement at the corners, coupled with the depth of the wall trench (apparently uniform with the west wall) argues against it. Yet one more problem arises with the end walls: how were the roof boards supported above the lintels of the end doorways? Horizontal timbers with tapered ends slotted into grooves - a modest instance of prefabrication - seem to be the most practical solution, although if so, it is surprising that all Hope-Taylor's meticulous excavation did not produce evidence of the technique. Upright logs, the only alternative, also require some kind of prefabrication in the joint with the lintel, so the same point applies. In short, no really convincing solution can be offered for this detail.
A2 was the first building to present the problems defined in A4 and their solutions; its wall timbers were larger than in A4 and not set in such deep trenches, and the post-pairs were fewer and formed longer bays. Although no evidence of impending failure was observed in A2, the changes made in A4 in these respects show where improvement was thought necessary; principally, it seems, resistance to outward thrust and also lengthwise racking was inadequate. The latter consideration may have led to an increase in the number of post-pairs.
Both Great Halls represent a big advance on the problematic D2 (a)/(b); the crucial factor was greater precision in the setting-out, a concern for alignment and rectilinearity. Given such concerns at the outset of the building process, it is arguable that they could be replicated by a prefabricated roof structure, a notion carried to extremes in a model (Hope-Taylor 1977, Pl. 105-107) and rejected above. Quite simply, a securely jointed internal structure could have borne somewhat more than half the weight of the cladding and its prefabricated supporting rafters and obviated any need for the enormously heavy wall posts. The carefully aligned posts in the long walls were intended to prevent transmission to them of any distortion of the roof under wind pressure, a concern revealed in the comparable use of short posts of the same scantling at doorways, beneath the threshold (Hope-Taylor 1977, 51(a2,A4),98 (D2(b)), 118 (D5)). Doorways higher above ground level, leading in D5 to a gallery or loft are fantasy. A threshold is necessary, particularly for a harr-hung door, and it may have been important in some buildings to have to step up into them.
It is unfortunate that the immediate predecessor of A2 is so enigmatic; is it D2(b) or D(a)+(b)? Treating them as arriving at the latter state by addition presents the intractable problems of construction described earlier; as the former, it is difficult to understand what structural function the inner wall served and what kind of infilling a double wall could have had—the notion of two wattle-and-daub skins forming a cavity wall seems hopelessly anachronistic. Nevertheless, the care with which the two are laid out in relation to one another, the straightness of the walls and the rectangularity provide a remarkable foretaste of the precision required in the Great Halls. Apart from the greater depth of the outer trenches, there is nothing to suggest any structural advance in D2(b), whereas one or two details incline to its being contemporaneous with D2(a): the large square-section post found at all corners of D2(b) relate very neatly to the walls of D2(a), so, too, do the doors of the two structures. Yet another problem occurs if D2(a) is considered to have been independent of D2(b), with which it is structurally identical except for the corner-posts just mentioned. Why were the foundation trenches shallow when its 'successor's' were deep? Even allowing for the loss of buttress-posts, the shallowness implies that a much slighter outward thrust was expected; yet the likeness of the inner and outer walls in other respects suggest that if they relate to separate buildings their roofs were nevertheless essentially the same.
D2(b), which offers the more intelligible evidence, had a roof of entirely different type from A2 and A4, combining a ridge-beam supported by post-pairs and ridge-posts with palisade walls capable of resisting the thrust of a heavy cladding - most probably, boards in pairs, resting on the ridge-piece and cut out to interlock at the apex. At the foot they would fit into a V-shaped slot cut into the wall-posts. That kind of cladding would be more suited than horizontal boards to the skewed ridge-piece that the positions of the post-pairs suggest and to the slightly irregular bowing of the walls. If an independent D2(a) is envisaged, the thrust of boards on the long walls would have presented a problem and wooden shingles would hardly have been better. To sum up D2(a)/(b), the jury is out.
The roof of D1(b) hardly differs from that proposed for D2(b) save for the greater possibility of a hipped roof at the north end and just possibly at the south end too. D1(a) was generally similar but wall detail is lacking. Together, D1(b) to A4 present an intelligible course of development, replacing the slighter kind of construction used for A5 and D6 in which posts at fairly short intervals supported wattle-and-daub infilling. Despite both having the end doorways that characterized important buildings up to A4, A5 was described as “a house or even a cottage” (Hope-Taylor 1977, 62) rather than a hall. Since no direct evidence of roof construction can be gleaned from the plans it has to be assumed that A5 and D6 had some form of tie-beam roof with a light cladding, probably thatch, which was abandoned for high-status buildings in favour of heavier techniques that were either longer-lasting or required less maintenance. Their only successor, D3, was larger and modified by the use of ridge-posts, paired posts and a heavier roof cladding requiring the use of buttress post—the possibly the first use of boards.
Post-and-panel construction using wattle-and-daub did not survive D3, nor is any link observable with the superior revived form using wooden panels, as in A3(b) and C4(b).
Conclusions
One general observation may be made about the historical conclusions drawn from the kind of archaeological evidence used above. Archaeologists generally tend to equate heaviness and solidity of construction with good building practice and to regard more lightly built structures as inferior, a sign of decline, just as Hope-Taylor did with A3(a) and A3(b). Far from it, as surviving medieval buildings show. Twelfth and thirteenth century structures use larger timbers than their successors to perform the same job; this helps to ensure their survival but does not mean they are better in any economic or social sense, rather the contrary. As the saying goes, economy of means is a fine thing, and provided a building performs its function for as long as the patron requires, the builder has done what was expected of him. Patrons, excluding the higher nobility and clergy who built in stone, can hardly have been concerned to build for posterity or even for the next generation, hence there is no reason to assume that the more lightly built structures at Yeavering were less satisfactory or performed less well for their occupants than their bigger and heavier counterparts. Forms of construction are not necessarily criteria of social or economic success.
Looking at the plans of Yeavering buildings as a whole, they fall into two principal categories that share a common characteristic of having a door in the middle of each of the long sides. A minority of houses has only those two; more have an additional door in each gable end. Gable-end doors are very rare in purely domestic buildingsand Yeavering may explain why. As A2 and A4 demonstrate, two end doors were an accompaniment of high status and their abandonment corresponds to the appearance of building lacking any obvious provision for a palatial or administrative function; a point that may help in understanding the social development of the site, which comprises in its post-Roman phases two principal centres, the West and East Ring-Ditch complexes (WRDC, ERDC) and two outliers to north and south of WRDC.
In phase I ERDC buildings A6 and A7, whatever doubts may be felt about their plan and structure, certainly did not have end doors; their replacement A5 did, as, north of WRDC, did D6, so settlement amounting to anything more than a farm building at Yeavering begins with two buildings of superior status, each with a houseful no larger than their predecessors', about 120 m. apart and aligned roughly east-west. It seems likely that both continued to exist in phase II (shown in broken line, Hope-Taylor 1977, Fg.75), when WRDC was first established by the two buildings D1(a) and D2(a) aligned precisely north-south and with only lateral doorways. Given the importance of orientation throughout the life of the settlement, the siting of the assembly-structure E suggests it was facing one of the two superior foci, A5, as if both structures were linked in the exercise of power. Conceivably D6 had a somewhat similar relation to WRDC whose buildings, including the somewhat later D3, lacked anything other than a workday entrance.
Phase IIIAB saw a dramatic change in the social structure through the consolidation of power in ERDC. This was achieved by an implicit change of function in the royal vill, which was henceforth charged with accommodating the peripatetic king and his household, a duty involving the construction of a suitably large building A2 with important end doorways. Since it is the only replacement of A5 at that time it is the only building suitable for occupation by the local magnate, a point that reinforces the notion advanced above that A2 resembled, functionally, the early-seventeenth century Hatfield House in being designed for the occasional use of a ruler on progress—establishing his existence and power in a non-literate era and living off the produce of his scattered vills. Its east-west alignment is significant in continuing the contrast. Hope-Taylor's plan of this phase hints at the possible survival of D6; that is quite likely but its relative power within the settlement as a whole was greatly diminished.
Probably D6 stood until it was replaced on the same site in IIIC by a building with the same orientation, D5, also with end doors; clearly the site of the older building must have remained visible at the time the new one was laid out. At the same time the west end of the settlement was enlarged to south by the addition of a building of comparable size and orientation, D4(a), whose end doors proclaim its comparable status. The orientation of these two, roughly parallel with that of the successor palace/house A4 and its associated and perfectly aligned hall A1(a) (both with end doors), was intended to show a connection with and subordination to the seat of power.
Phase IV provides, for the first time in the history of Yeavering, clear architectural evidence of social change. The pattern of a hall open from ground to roof and divided, if at all, by low partitions gives way to A3(a), of not dissimilar overall size and comprising a large tripartite main block with a transverse entrance hall flanked by equally large rooms from which smaller and lower annexes were reached. The annexes were of slightly unequal size and all were open from ground to roof. Probably the total number of persons inhabiting the building was no less than in A4 but the composition of the houseful had changed significantly through the provision of the annexes, each large enough to accommodate a number approaching a third of the total, thereby establishing a hierarchy of larger annex, smaller annex and hall. That is not to say that some corresponding social ranking did not exist earlier; the divides were now emphasised more strongly and visibly both inside and outside.
Just that kind of change extended down the social scale. A1(a), a completely open hall with end doors carefully aligned on the minimally subdivided A4, was replaced by A1(b), a smaller version of A3(a). Two large housefuls of similar internal structures at the controlling peak of the settlement, one superior to the other but with a common courtyard of purely visual significance (no direct access to it from either building) establishing its link to power. East of A3 and aligned parallel to it, in a way reminiscent of the siting of D3 relative to D2(a) in phase II, is what may have been a small open hall B(a) facing away from the Great Hall; may have been, because it is the only undivided hall at this stage of Yeavering's existence and it soon had an annex added to conform with the second social rank of buildings, whose only other representative is C4(a).
Phase IV represents one aspect of the power structure through the alignment of the two most important buildings on the assembly structure E, another through the four buildings C4(a) to C1 set out in echelon to A3(a); the first corresponds to the relationship between two branches of the elite, the second to the progressively subordinate families within the kin-group (Cf. Steuer 1982, 285). Thus in C4(a) social division is marked by having only one annex, emphasised by an internal porch and opening off the marginally larger part of the hall; yet beside the east end door is a feature—a seat and canopy, perhaps—hinting at some sharing of authority within the household or houseful. Next in line C3 is essentially an open hall divided by opposite doors in the long walls into two equal parts, the east one being subdivided by a partition like a small version of A4. Only the placing of the gable-end doors make this house problematic. That at the east end is axial, that at the west end markedly north of the axis, perhaps because, adjoining it, two slight post-holes may be for a seat the counterpart of the one in C4(a); all in all, a houseful structured much like that in C4(a) but simpler. Next again is the markedly smaller house C2, about two-thirds the size of C3. It too has a single anteroom at the usual point of entrance but the door there, like the west door, is off-axis to north; only the wide opening in the partition is axial.
The off-axis siting of all but one of the end doorways in the three C houses is clearly a very deliberate avoidance of the obvious axial position for such an entrance, and in general fits the assumption that axial end doors are a mark of high status; so why the exception for C3? Maybe it fits with the setting-out of this range of buildings in diminishing order of status: C4(a), closest to the centre of power A3(a), has an obvious sign of importance in its one annex, C3 has what was by then an obsolescent status symbol in a single end doorway, C2 has neither, only off-axis doorways as a reminiscence of how status was formerly expressed. C1, placed slightly more apart than the rest, is a humble workshop of totally different design.
All but one of the phase IV buildings is in or related to the B(a) – E alignment. Only D4(b) stands apart, and it is striking that the sole relic of WRDC should, like C3, have off-axis end doors, although the axial line of movement between them that is so characteristic in earlier high-status houses is interrupted here by the placing of the partition door. It did not last long; by phase V it was gone in a thoroughgoing and, as it proved, final simplification of the social structure. The principal or Great House was rebuilt in modified form (A3(b)) to reflect some redistribution of status; to west A1(c) with one annexe declined in status compared with its predecessor; to east B(b) was elevated by the acquisition of an annexe; and C4(b) was rebuilt retaining its plan with no significant change; four peripheral buildings and the assembly structure, the last surviving element of Yeavering's wider public function, disappeared to leave a settlement occupied by only a sizeable kin-group; obedient to higher authority but without its presence.
Phase V is remarkable for its diminished social structure: the only phase in which buildings devoid of the characteristics of superiority or power - end entrances or annexes - are completely absent. It is suggestive of a low social pyramid, only two strata of which are represented. The kingly element, the peak of society, has disappeared, leaving a stratum immediately below it represented by A3, occupied by a large houseful (Steuer 1982, 102) headed by the equivalent of a large landowner but without the elements of ownership or inheritance by primogeniture (Steuer 1982, 53). Closest to it is A1(c) which, with B(a)/(b) and C4(b), are all representative of the next stratum below that and are distinguished primarily by their relation to A3: A1(c) is the closest, sharing an enclosure with it; B(a) is slightly more distant from A3(b), less closely aligned with it than A1(c) and set within its own enclosure; C4(b), larger than either but most distant from A3(b) and retaining its setting obliquely to it as a mark of inferiority, has a houseful of similar composition and not dissimilar in status. The whole contrasts with phase IV, when C2, C3 and D4(b), all with simpler plans, may have accommodated a yet lower stratum, though one markedly above C1, which is the only example of the common Anglo-Saxon type of craftsman's house.
The social composition of the phase V settlement required a considerable number of people to attend to the needs of the persons of consequence. Many such attendants probably formed a retinue than being servants in the general sense of the word - younger sons and daughters employed in another family than their own within the kin-group, much as happened in the sixteenth and seventeenth centuries. That may sound anachronistic but some arrangement of this kind is needed to explain the lack of accommodation within A3 for servants; the retinue would live with their peers and the personal servants - at least one for each person of consequence—would sleep on straw not too far away from master or mistress. Where cooks and the like lived and worked (assuming such specialization existed, which is uncertain) has left no archaeological trace. Speculative though the foregoing analysis is, it may explain why, in phases II to IIIC, the WRDC group is aligned differently from any building of status, the fragmentary structure south-west of D4(a) being the only possible exception.
A further point of interest is observable in phase II. If the two centres of authority A5 and D6 did survive at that time, as the course of development at Yeavering requires, they were smaller than the buildings of WRDC, yet the latter display much the same kind of relation between them as do the later groupings near ERDC. Again, a social explanation is possible: some division of the founding kin-group into two branches on a functional basis, separating a controlling or ruling element from the larger body of people who attended to the material needs, or some of them, of the whole. By phase IV the C buildings expressed a comparable division of function in a different social relation, which was reduced in V to C4(b) and (doubtfully) B(a). Those successive reductions may be connected with the size and internal complexity of A3(a) and (b),
Parallels
Social development of the kind inferred at Yeavering can probably be inferred at Basingstoke- Cowdery's Down from the changes between phases 4A/B and 4C (n. Millet and James 1983, Fig. 6), where the several buildings are laid out in two very regular ways expressive of different power relations within the settlement. A further likeness between the two sites appears in period 4C of Cowdery's Down (ibid, Fig. 27), where the alignment, closeness and size of two halls, C14 and B/C15 is reminiscent of A2 and A4 at Yeavering, as is the angle at which they stand in relation to the larger group. Even the ways in which two important buildings, A1 and B4, relate in phase 4B to a fenced enclosure is comparable to the sharing of a smaller such enclosure at Yeavering phase IV by A1(b) and A3(a). Both Foxley-Cowage Farm and Sprouston (n. James, Marshall, Millet 1984, 185) appear to be open to interpretation on these lines.
Insofar as most of the buildings within the Danish fortresses such as Trelleborg are living accommodation, that is, their purpose is domestic as opposed to the exercise of a military or craft function, they offer a relevant comparison through their likeness to high-status Scandinavian houses of the same period, c.1000 AD (Schmidt, Fyrkat, English summary, 236-238). They all have end and lateral entrances; how far that is true of their contemporaries is hard to judge. Excavations at Dommelen near Eindhoven (Netherlands) revealed two or three houses with posts that could credibly be interpreted as the jambs of end doorways but in only one such case are doorways in the middle of the long sides possible (Bohme 1992, 137-139, citing Theuws, Verhoeven and van Regteren Altena, at that time in the press)).One characteristic stands out as being common to many early halls, a duality that is expressed in a variety of ways - two hearths, two annexes or some sign of near-equality in the two parts of a building divided by opposite doorways. This extends to the several instances where two similar aligned buildings hint at some kind of social link between the occupying households. That generalisation does not embrace all the buildings but is worth adopting initially as a basic tenet underlying their social interpretation, exceptions to which need special explanation and may have the potential to undermine it. A reason for such an approach is that duality may stem from a custom fundamental to the history of the family and communities, that of partible inheritance (gavelkind), the system of equal division of an inheritance between members of a nuclear family or kin-group on the death of its head.
Partible inheritance is often thought of simplistically as leading inexorably to the fragmentation of lands to the point where holdings are too small to provide a living for a nuclear family. In fact, kin groups developed a variety of strategies to prevent that happening, one of which the architectural history of Yeavering may exemplify in demonstrating the creation of a social structure capable of resisting morcellation. All such strategies involved modifying partible inheritance in its elementary form, a point which historians working from documents have tended to miss because the evidence of buildings which reveal the variety and ingenuity by which customary law was bent to acceptable practice has not been readily available (Jones and Smith in preparation).Those concerns may account for the architectural duality that is so fundamental a feature in the history of the site without explaining why provision in any one hall or house was limited to two putative kin-groups when property, or more correctly, property rights were divided on the death of the head of a kin-group.
Questions and problems
Yeavering presents several problems of general importance that can only be tackled in the light of comparative or documentary material. Foremost is the matter of opposite gable-end doorways, something impossible to find with any probability in the many plans assembled by Bendix Trier (1969). They do appear, in the eleventh-century West Hall II (Period 3) at Cheddar, where, in the succeeding Phase 4, the aisleless West Hall III is perfectly aligned with the much larger aisled East Hall I. In the Northumbrian site end doors appear over a long period, ranging from a fairly small building in the first post-Roman phase (A5) to the largest (A4) at its apogee; yet the latter's successor A5, almost as large, did not need them. Presumably this relates to the development from a founding family already largely free of agrarian activities to a powerful kin-group with royal connections, one which subsequently declined to the status of a major landholder. That said, the presence of opposite doorways in the middle of the long walls, thus dividing the house into two equal parts, also requires explanation in social terms; why is it preferred to two doorways in one of the long sides or, as at Trelleborg and the like, doorways on opposite sides at the ends of a house. The custom certainly has no precedents in Roman buildings despite the attribution of such ancestry to A5 (Hope-Taylor 1977, 110).
Another important matter is the connection between the Yeavering buildings and those of continental Europe. Hope-Taylor's 30-page discussion, largely of aisled buildings of quite different construction and purpose, is totally irrelevant. Houses combining post-pairs and ridge-posts occur in Germany at Hamburg-Farmsen and Nauen-Barhorst, Brandenburg; in the Netherlands at Santpoort-Spanjaardsbergje, Nordholland; and in Denmark at Tolstrup (Trier 1969, Taf.14,23); all are intelligible when analysed as above and more like them can be found in the same source. They appear to belong to an architectural tradition of wide extent in northern Europe that is totally different from that of the Netherlands and the Baltic coastlands of Germany and, unlike that tradition, seems to have left no legacy of plan or structure to the High Middle Ages.
About the economic base that permitted the enlargement and supported the shrinkage of the Yeavering settlement virtually nothing is known except that cattle-rearing formed an important part in it. Whoever lived and worked in the ephemeral structures west of D3 can hardly have contributed much and possibly the "minor structures [that] could conceivably exist towards the western and northern margins of the site'' (Hope-Taylor 1977, 360, n.48) might be worth looking for; otherwise more distant farms provided sustenance.
Finally the association of destructive fires with rebuildings involving social change is a phenomenon to be compared with the apparently quite frequent destruction of Scandinavian halls (Klos 2014). Were they always burned accidentally, by enemies, or was their destruction sometimes bound up with a change of status and social structure?
Acknowledgments
Dr Lesley Abrams, Professor John Blair, Dr Mark Gardiner and Dr Richard Reece read drafts of the whole or part of the text and commented upon it, sometimes favourably. We thank them for the trouble taken over this and taken account of many of their remarks but any errors of interpretation, whether of structure or function, are our responsibility.
Abbreviations
SC = Style Chart
Drawings by Allan T. Adams
Keywords
Country
- United Kingdom
Summary
Yeavering's post-Roman architectural history falls into two parts. In the first, each of H-T's phases I-IIIC includes two or more buildings with end-entrances. This type culminates in IIIC with the two largest structures ever built there, A2 and A4, great halls that are the only definite indicators of palatial status at Yeavering. The second, devoid of any end-entrance buildings, lacks anything resembling a great hall. In IV the two largest buildings, A1(b) and A3(a), are properly called great houses and are entered by opposite doorways in the middle of the long sides, like the group of three buildings adjoining the WR-DC; and they had a squarish annex at each end. In other words, anything resembling a palace plan had disappeared and no line of approach between shrines or assembly structure existed.
End entrances in a building at Yeavering conveyed the message that it was a seat of authority and power and were so potent in symbolism that they were perpetuated from some of the smallest buildings, A5 and D6, to the very largest, A4. Their complete abandonment thereafter marks a change in the function and social importance of the site.
The distinction between end-entrance and annex types permits some speculation about the function of the buildings and the size and composition of their housefuls. A3(b) is bipartite and more or less symmetrical, comprising two large apartments flanking a hall which was a room common to both and also the point of entrance. What other function can they have had other than a domestic one? Nothing in the evidence suggests any different function for the annexes, nor did H-T suggest one; they are a kind of inner room off the larger one, which is itself more private than the hall. The size of A3(b) must indicate a numerous houseful, a kin-group or clan of two moieties, each comprising, probably, a large extended family.
All the considerations outlined above apply to A(a) in the preceding phase IV and largely to A1(b) except that the houseful had a simpler structure in which the common hall dominated he annexes. Three houses graded in order of social importance are set out in echelon relative to A3(a) and represent a crucial change from the less organised layout of phase IIIC to a concentration of power in fewer hands. In short, the history of Yeavering in its late phases is that of a kin-group with nothing royal about it and lacking a building suitable for representational occasions; so how did this sizeable community emerge from its smaller and (latterly) royal-orientated predecessor?
Post-Roman settlement began with two small halls, each with end-entrances as well as the opposite entrances customary in so many early- and high-medieval sites. At this stage dual end entrances probably denoted no more than independence of any external authority; both buildings were of equal status except insofar as A5 was related to the shrine ERDC. Phase II was marked by two developments, one being the building of an assembly structure, the other—the more interesting for the social history of Yeavering—the building of three houses whose inferiority to A5 and D6 is shown by their having only long-wall entrances; also their different orientation. D3 is the most interesting of them in two ways. First, its function is clear; its two hearths can only be domestic because a sunken floor is totally unsuitable for cooking or any craft occupation needing heat; and second, its construction in a pit shows, like the double walling used in D(a)/(b) a strong concern to improve building techniques that persisted throughout the settlement's existence.
Two issues dominated such efforts, both related to roof construction: the overriding one, to support a sound, watertight and therefore heavy roof without encumbering the interior with posts, was solved by successive attempts to transmit the weight of the cladding to the long walls. At an early stage D3 did this, in effect, by raising the level at which the load was resisted; the final solution in A4 was to embed the wall-posts to the extraordinary depth of seven feet. The other problem can be inferred from the unusual disposition of post-pairs in small or medium-sized buildings like D2(a) and (b), A1(a) and C4(b), which imply a crooked ridge-piece; this seems to have been done to avoid fire risk from hearths (usually two) under a roof of quite low pitch. Both solutions, but especially the second, suggest regular domestic rather than occasional ceremonial use.
Phase IIIAB marks a social transition from the kind of independence represented by A5 and D6 to a concentration of power in A2, where duality is continued in a different way by two end lobbies not quite of equal size. It may well be that the new building replaces both A5 and D6. The end doorways, larger than those in the sides, no doubt served a ceremonial purpose but that does not explain why other, everyday doors were needed unless for everyday purposes. And if A2 is thought of as an intermittently used royal hall, did the similarly planned A5 and D6 have a comparable function? Finally in IIIC A4, already built in the preceding phase, was linked, after the demolition of A2, with a new and smaller hall which, to judge by the placing of the post-pairs, may have had some kind of partition forming a lobby at the east end (as A4). And that development was as far as royal Yeavering went.
Bibliography
AHRENS, C. 2001. Die fruhen Holzkirchen Europas, Stuttgart: Konrad und Theiss Verläg
BINDING,G.,1991. Das Dachwerk auf Kirchen im deutschen Sprachraum vom Mittelalter bis zum 18 Jahrhundert, Munich: Deutscher Kunstverlag
BOEHME, H.W. 1992, Siedlungen und Landesausbau zur Salierzeit, Jan Thorbeck Verläg, Sigmaringen.
FRODSHAM,P., O'Brien, C., 2005. Yeavering: people, power and place. Stroud: Tempus
HAARNAGEL, W. 1979: Die Grabung Feddersen Wierde. Bd 2 Methode, Hausbau, Siedlungs- und Wirtschaftsformen sowie Sozialstruktur, Wiesbaden: Franz Steiner Verlag
JAMES,S., MARSHALL, A., MILLETT, M. 1984: An Early Medieval building tradition. Archaeological Journal, vol.141, pp.207-12
JONES,S.R., Smith, J.T., Houses of Breconshire (in preparation)
KLOS, L. 2014: Burning halls: the symbolic significance of halls in the early history of northern Europe. Zentrum für Baltische und Skandinavische Archäologie
MORENO MARTIN, F.J., 2011 La arquitectura monástica hispana entre la Tardoantigüedad y la Alta Edad Media. Oxford: Archaeopress, BAR International Series 2287
OSWALD, SCHAEFFER, STENNHAUSER 1966. Vor-romanischen Kirchenbauten: Katalog bis zum Ausgang der Ottonen. Munich, Prestel-Verlag
PRICE, L. 1982. The Plan of St Gall in brief. Berkeley, California: University of California Press
STEUER, H. 1982. FrĂĽgeschichtliche Sozialstrukturen in Mitteleuropa. Goettingen, Vandenhoek & Ruprecht
THOMPSON, E.P., Making of the English Working Class
TRIER, B. 1969 .Das Haus im nordwesten der Germania Libera. Muenster Westfalen,: Aschendorffsche Verlagsbuchhandlung
VOLLMER, L., ZIMMERMANN W.H., 2012. Glossary of Prehistoric and Historic Timber Buildings [polyglot]. Rahden/Westf.: Niedersächsisches Institut für historische Küstenforschung, Wilhelmshaven
ZIPPELIUS, A. 1954. Vormittelalterliche Zimmerungstechnik in Mitteleuropa in Rheinisches Jahrbuch fur Volkskunde Bd.V, pp.7-52
